アクリアスリムマグが漏れてしまいます
アクリアスリムマグが漏れてしまいます
- カテゴリー :
-
- よくあるご質問 > ベビー用品 > マグ > アクリア スリムマグR
回答
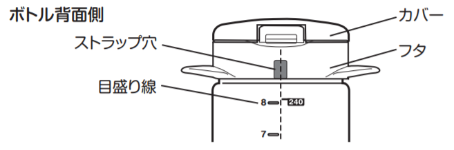
(各部の説明)

(1) 電子レンジにかけていませんか?
ボタンとフタの間に入っているバネは金属製です。
金属製バネは電子レンジにかけると高温になり、樹脂を溶かしてボタン表面やフタ内側から飛び出し、閉まらなくなって漏れる場合があります。

(2) カバーを閉じる時、飲み口はどちら側に倒れていますか?
飲み口の先端が軸側に倒れていると、空気弁が押し開かれて漏れの原因になります。

※飲み口に触れなくても、カバーを閉じるだけで、飲み口の先端はボタン側に倒れるようになっています。
(3) ボトルとフタの間から
・目盛り線の真上にストラップ穴がくるように締めていますか?

(4) カバーとフタの間から
・飲み口がフタにしっかりはまっていますか?

・空気弁が端まで裂けているなどの異常はありませんか?