- よくあるご質問 > ベビー用品 > ベビーゲート・安全便利・収納 > 階段の上でも使える木のベビーゲート > 階段の上でも使える木のバリアフリーゲートを取り付けたのですが、90度に開いても開放状態をキープできません
階段の上でも使える木のバリアフリーゲートを取り付けたのですが、90度に開いても開放状態をキープできません
- カテゴリー :
回答
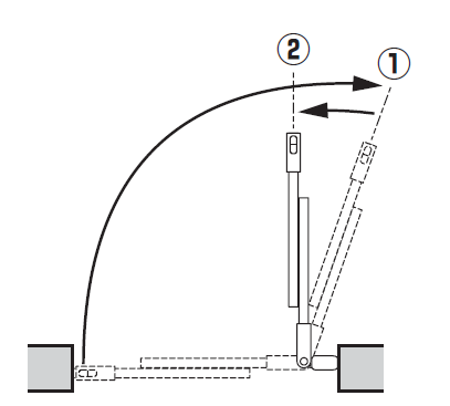
ドアを一度、開ききり(①約100度)、約90度まで戻し(②)、そっと手を離すと開放状態で保持できます。

ただし、約100度に開ききることができない場合(×参照)や、約90度まで戻さずに手を離した場合は、開放状態で保持できません。
